欢迎光临~无锡杭江科技有限公司
  咨询电话:13306166212

新闻中心

功率计和功率传感器工作原理

功率计由功率传感器和功率指示器两部分组成。功率传感器也称功率计探头,它把高频电信号通过能量转换为可以直接检测的电信号。功率指示器包括信号放大、变换和显示器。


显示器直接显示功率值。功率传感器和功率指示器之间用电缆连接。为了适应不同频率、不同功率电平和不同传输线结构的需要,一台功率计要配若干个不同功能的功率计探头。


图1  功率测量仪器的组成


按功率传感器技术类型,可把功率计分为3类:热敏电阻型功率计,热电偶型功率计和晶体检波式功率计。


热敏电阻型功率计使用热敏电阻做功率传感元件。热敏电阻值的温度系数较大,被测信号的功率被热敏电阻吸收后产生热量,使其自身温度升高,电阻值发生显著变化,利用电阻电桥测量电阻值的变化,显示功率值。


热电偶型功率计则是利用热电偶型功率计中的热偶结直接吸收高频信号功率,结点温度升高,产生温差电势,电势的大小正比于吸收的高频功率值,进行功率测量。


晶体检波式功率计使用晶体二极管检波器将高频信号变换为低频或直流电信号。适当选择工作点,使检波器输出信号的幅度正比于高频信号的功率。

 

1.热敏电阻功率传感器和功率计

 

热敏电阻是一种由金属氧化物的化合物制成的电阻器,随温度呈现大的电阻变化。若将热敏电阻用于形成功率传感器的终端,则它的电阻将随外加功率引起的温升而变。


图2说明了热敏电阻功率计的基本原理。图2(a)的电路表明对于射频输入端上出现的信号,两个热敏电阻如何被布置成并联以及如何与功率计相串联。功率计的连接跨接在射频旁路电容器两端,以避免热敏电阻那边的射频泄露。

 

图2 热敏电阻功率计的基本工作原理((a)热敏电阻功率传感器;(b)自动平衡电桥)


功率计利用称为自动平衡电桥的电路,该电路提供将热敏电阻阻值RT维持恒定在R值上的直流偏置功率。若热敏电阻上的射频功率增加,则电桥使偏置功率减小一个相类似的量。射频功率降低则引起电桥增加偏置功率,使热敏电阻维持恒定的电阻。功率计内的辅助电路对直流功率的这个变化进行处理,以获得功率读数。

 


图3  温度补偿式热敏电阻传感器


热敏电阻的阻值随环境温度以及射频和直流功率而变,所以温度的任何变化都会引起功率读数变化。现代热敏电阻功率传感器通过利用与射频检测热敏电阻有热联系但电气上相隔离的第二组热敏电阻来克服这一问题。


图3示出了温度补偿式热敏电阻传感器的电路。这类传感器要求包含两个自动平衡电桥以及依据加到检测热敏电阻和补偿热敏电阻上的偏置信号来获得功率读数的电路的专用功率计。图4给出了这类功率计的详细框图。

 


图4 带有温度补偿式热敏电阻功率计原理框图(N432A)


将加到射频电桥上的偏置功率相对于加到补偿电桥上的功率进行比较,射频功率由下式给出:Prf=(Vc^2-Vrf^2)/4R


式中,Prf为射频功率;Vc为加到补偿电桥上的电压;Vrf为加到射频电桥上的电压;R为热敏电阻传感器在平衡时的电阻。


功率计包含一个在通Vc与Vrf之和成正比的时期内闭合的电子开关,从而在仪表测量部件M中形成电流流动,其大小通Vc与Vrf之差成正比。通过仪表的电流的平均值计算式,不加射频功率时,Vc=Vrf,这个条件在使用者启动自动调零电路时便能得到。现代热敏电阻功率计提供10mW---1uW输入功率范围的测量能力(40dB),并可提供能工作在100KHZ---1000GHZ频率范围内不同波段的传感器。


热敏电阻传感器曾经广泛用于一般用途的功率测量,但它们已被能提供更佳性能的其他功率检测方法取代。现在的主要用途是功率计和传感器的校准。


2.热电偶功率传感器和功率计

 

工程师十分希望功率传感器具有宽动态范围、低漂移和小驻波比,且一台仪器能够容纳宽的频率范围。利用热电偶的功率传感器便能满足这些要求。


两种相异导体的连接形成一对热电偶结,这些结两端存在的任何温度梯度将产生电压。功率传感器的热电偶结构被设计成包括一个耗散大部分外加功率的电阻器。电阻器的的温度升高,在附件的热电偶结两端便形成温度梯度,从而产生与功率成正比的电压。


两组这类结构实际上可以这样取向,使由电阻器耗散的功率产生的温升引起两个热电偶结构产生相加的温差电压,而由环境温度变化产生的温度梯度则引起相抵消的温差电压,因而将零读数的漂移减至最小。该电阻器的阻值被设计成为传输线提供良好匹配的终端。


功率传感器中使用的热电偶元件可能由金、(n)型硅和氮化钽电阻材料构成,而薄膜结构则提供工作在超过40GHz频率上所需的小尺寸和精密几何形状。图5是利用这些技术的热电偶传感器的示意图。



图5 热电偶功率计原理简图


热电偶的灵敏度可以借助其直流输出电压的幅度相对于传感器耗散的射频功率的大小来说明。典型灵敏度约为160uV/mW,低达1.0uW的功率电平可以用这类传感器进行测量。必须测量的直流电压可能低达0.16uV,所以功率计内部的放大器必须提供高增益。重要的是,这些放大器不能添加到待测微伏电压上或从中减去的任何附加直流偏置。


图6所示的斩波输入放大器和同步检波器能够满足这个要求。斩波器用方波驱动信号进行工作,它直接将交流耦合放大器的输入电容器转接传感器的输出端或者转接到地。输入电容器由直流输入电压充电并由接地放电,所以到放大器的输入信号变成幅度正比于传感器输出的方波。


交流耦合放大器具有足够高的增益,产生数伏的输出方波且不包含偏置电压。同步检波器靠与斩波器一样相同信号工作的另一个开关,它将放大器输出与RC(电阻器)滤波器相连或将滤波器输入接地。由于输出转接与输入斩波器同步,故滤波电容器由输入直流电压产生的方波的同一半周期充电。滤波器的输出是很容易加以处理和显示的直流电压。

 


图6 斩波输入放大器和同步检波器


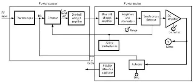
图7是整个功率计的结构框图。斩波器和输入放大器的一部分包含在传感器中,所以电平相当高的信号被传送至功率计,在此,信号经放大,由同步检波器变回到直流,再由仪表显示。在利用热电偶传感器的数字式功率计或基于微处理器的功率计中也存在类似电路。现代热电偶式功率计提供在100mW到1uW(50dB)输入功率范围的功率测量能力。


大多数热电偶式功率计都提供了具有已校输出功率的精密参考源,它用于调节系统的增益,以补偿热电偶不同元件之间灵敏度的变化。每当将不同的传感器与功率计相连时,使用者进行这一调节,这一过程可以简单到将传感器与参考源相连并按动相应按钮。


图7  热电偶功率计原理框图


3.二极管功率传感器和功率计

 

利用半导体二极管作为检波元件有可能测量极低的功率电平。图8示出了二极管传感器的最简单形式。可以看出,它包含隔直流电容器,终端电阻器,二极管和射频旁路电容器。流过二极管的电流是负载电阻器两端出现的外加电压的非线性函数。


某些二极管在很低的外加电压(mV级)下将传导显著电流(uA级),但仍然存在非线性关系,并引起遵循外加电压平方(即平方律响应)的整流输出,因而服从幂次关系。


图9给出的数据说明,工作在平方律区域时,检测二极管的输出直接效仿输入功率变化。由于检波机理服从幂次关系,故平方律二极管传感器将指示复合波形总功率的正确值。

 


图8  二极管功率传感器的检波电路

 

为了保证二极管对信号功率起响应,某些功率传感器设计将测量范围限制在平方律区域以内。这类传感器能测量低达0.1nW(-70dBm)的功率电平,且它们将完成与外加信号的波形无关的精确功率测量。平方律工作的可用动态范围约50dB,所以平方律二极管可以使用与热电偶传感器相同的功率计。


将二极管传感器的工作向更高功率电平(10---100mW)扩展的功率计可能提供具有很宽动态范围(70dB或更大)的测量能力,但在高于10uW量程上获得的读数只适用于连续波(CW)正弦信号。在高功率电平上,二极管的工作类似于对外加电压的峰值起响应的线性检波器。图9表明,为了产生100:1的功率变化,需要二极管的输出指示10:1的电压变化。在这个工作范围,二极管传感器的输出在变成功率指示之前,必须进行平方。


利用工作在线性范围的二极管传感器的功率计包含有将二极管的输出电压进行平方的装置,给出与连续波正弦信号的功率相对应的读数。用于测量连续波信号的平均功率的功率计不能精确测量带有任何幅度调制形式的信号的功率。这个问题的解决办法是降低信号幅度,直到二极管工作在二极管对总功率起响应的平方律区域。
 


图9   二极管功率传感器的输出电压随输入功率的变化

 

传感器工作在线性范围时,载频的谐波可能带来显著的测量误差。例如,若谐波比基波低20dB(10%的谐波电压),便会造成总信号功率的1%的影响。具有平方律响应的传感器将指示总功率的正确值。谐波电压可能加到基波的峰值电压上或从中减去,所以线性检波器可能具有在无失真信号电压的90%与1.1倍之间变化的输出。


由于传感器的输出随后被平方,故指示功率可能比真值高20%或低20%。实际峰值电压取决于基波与谐波的相位关系,所以,没有修正这个误差的方法。图10所示的全波检波器对峰峰电压进行检测,只有当信号包含奇次谐波时才增添显著的误差。



图10 用于二极管功率传感器的全波检波器


图11是二极管功率计的完整结构框图。传感器用全波检波器的二极管传感器,功率计结构与热电偶类似。

 



图11   二极管功率传感器和功率计原理框图


4.峰值功率传感器和功率计


一些专用功率计可以用于测量脉冲调制信号,它们往往包括与示波器相似的显示器,以给出测得的结果随时间的变化。检测元件通常设计成具有快速输出响应时间的二极管。这类传感器的输出精确地仿效已调信号的包络,而与这类传感器配用的功率计则兼具连续波功率计和示波器的特性。如下图所示。

 


图12   峰值功率计原理简图

 

图8给出了具体仪器的原理框图。峰值功率计可以测试平均功率和峰值功率,所以传感器也有两个通道。功率计则更象示波器,直接高速采样,测量检波后的波形。

 

图13  峰值和平均值功率传感器和功率计原理框图

导航栏目

联系我们

CONTACT US

联系人:

手 机:0510-86166900 13306166212

邮 箱:1553563200@qq.com

公 司:无锡杭江科技有限公司

地 址:江苏省江阴市申港镇于门桥工业园镇澄路1055号